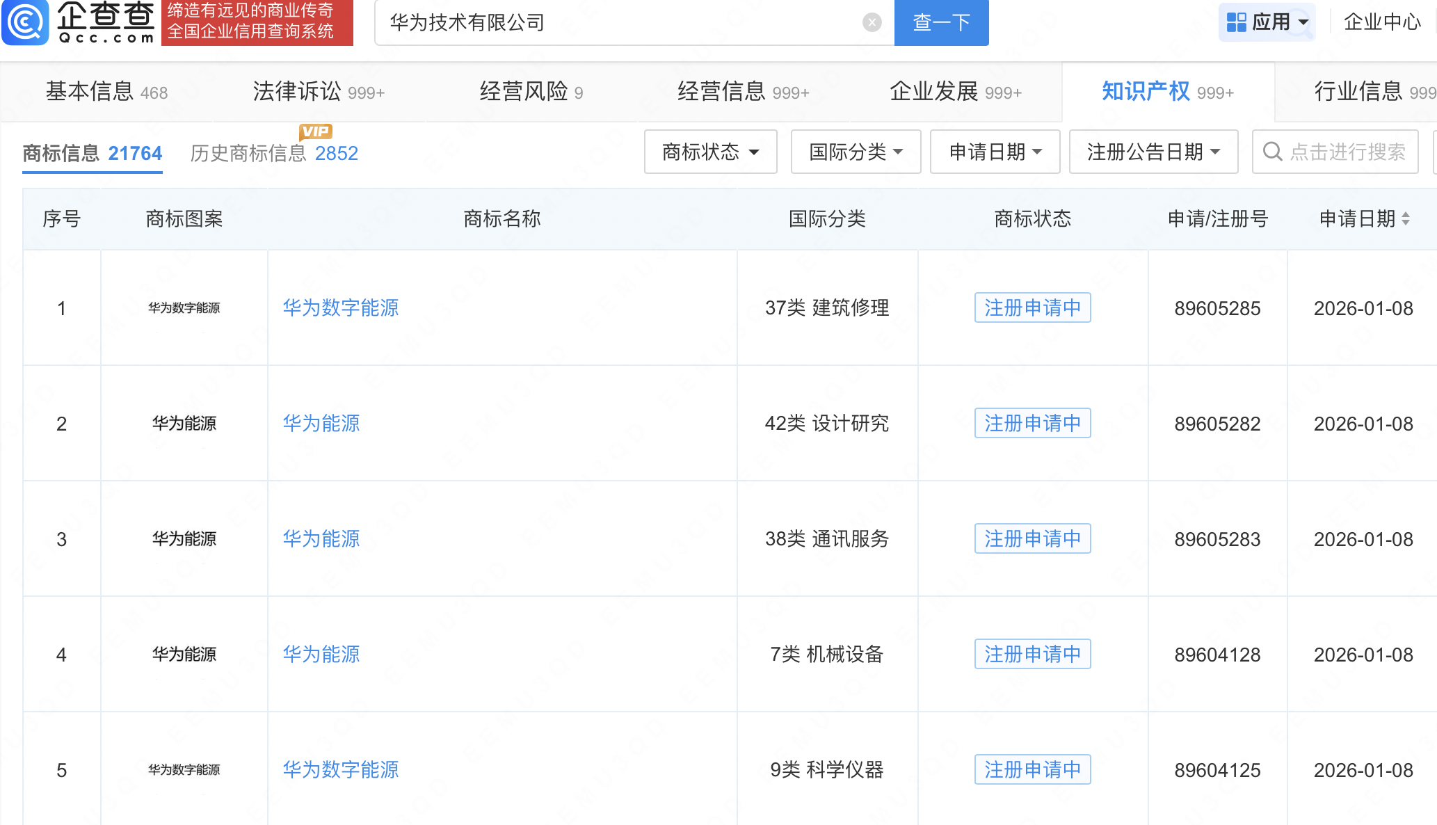
近日,华为技术有限公司申请注册多枚“华为能源”“华为数字能源”商标,国际分类包括科学仪器、机械设备等,当前商标状态均为注册申请中。
天宇优配提示:文章来自网络,不代表本站观点。
本文评分*
评论内容*
你的昵称*
你的邮箱*